RWA454-B skříň 4U / 19” RACK, nástěnná, černá, 540x400
Kód: E003-3709
Garance doručení
Na přepravě nám záleží. Klademe velký důraz na kvalitní zabalení zboží

Nová akce každý týden
Každý týden pro Vás připravíme novou zajímavou akci

Doručení PPL
Rychlé doručení přes společnost PPL

Rychlé doručení
Zboží, které máme skladem expedujeme nejdéle následující pracovní den

Specialista na bezpečnostní technologie
Nabízíme produkty kvalitních výrobců bezpečnostních technologií

Velké skladové zásoby
Přes 35 000 položek skladem
Detailní popis produktu
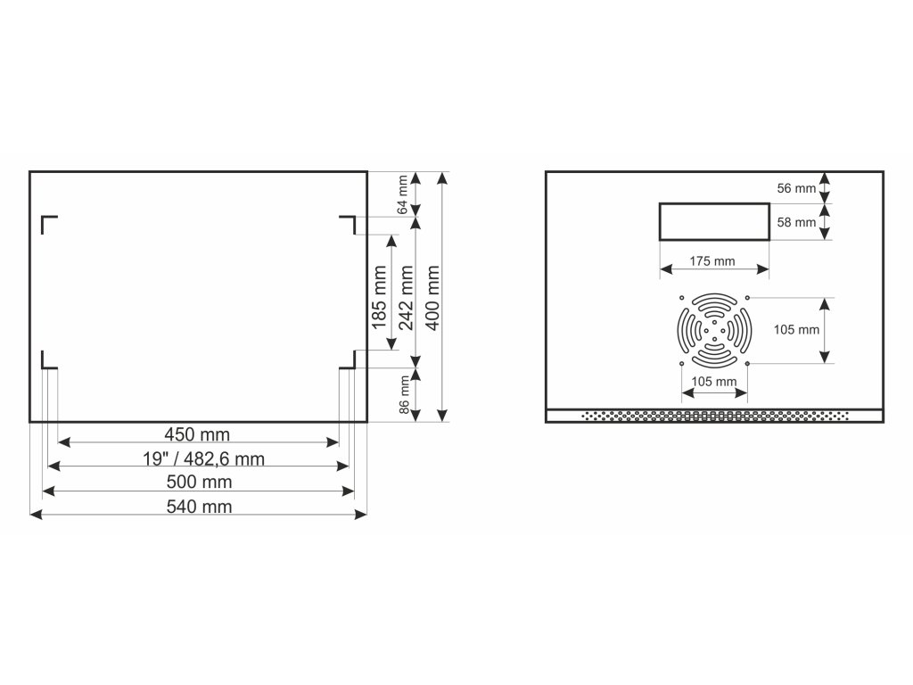
RWA454-B Racková skříň 4U / 19” RACK, nástěnná, černá, 540x400.
Dodavane v rozebranem stavu a je potreba je slozit.
| Popis | 19" rozvaděč RACK umožňuje integraci CCTV, AC, I&HAS, RTV, LAN nebo jiných systémů v malých firmách nebo domácnostech. Je určen pro zařízení vyrobená v 19" rozvaděčích. Díky rackovým rozvaděčům jsou zařízení esteticky upevněna a chráněna před mechanickým poškozením. |
| Montážní rozměry | 19" x 4U |
| Rozměry | 540 × 280 × 400 [+/- 2 mm] |
| Typ skříněk | nástěnná montáž, dodavane v rozebranem stavu a je potreba je slozit. |
| Zavírání | přední dveře – zámek (RAZ-G1,
stejný kód) boční panel – Click |
| Materiál | za studena válcovaná ocel SPCC, 0,6 mm, 1 mm, RAL9004 (černá), metalická |
| Stupeň ochrany EN60529 | IP20 |
| Záruka | 2 roky |
| Poznámky | - nastavitelná vzdálenost
mezi přední a zadní lišty RACK - větrací otvor v horním panelu (1 x 105x105 mm - instalační rozměry) - kabelové kanály v horním a spodním panelu (175x58 mm) - vyměnitelné dveře – pravé nebo levé |
Doplňkové parametry
| Kategorie: | Univerzální elektrikářské |
|---|---|
| EAN: | 5902135328057 |
| Modul: | Montážní box a krabice |
| Instalace: | Volná |
| Provedení krytu: | Ocelový;RACK |
| Prostředí instalace: | Vnitřní |
Hodnocení produktu
Buďte první, kdo napíše příspěvek k této položce.
Diskuze
Buďte první, kdo napíše příspěvek k této položce.
